• <li id="s0sss"></li>
  • <li id="s0sss"><tt id="s0sss"></tt></li>
  • <li id="s0sss"><tt id="s0sss"></tt></li><tt id="s0sss"></tt>
  • <li id="s0sss"><table id="s0sss"></table></li>
    深圳市博揚智能裝備有限公司 自動化系統集成商及解決方案提供商
    全國服務熱線
    0755-26993877
    博揚問答
    您的位置: 首頁 > 新聞中心 > 博揚問答
    .
    聯系我們

    http://www.shunliao.com.cn

    地址:深圳市寶安區新安街道67區甲岸科技園1號廠房1區5樓
    手機:15012713703

    咨詢熱線0755-26993877

    管鏈輸送機的工作原理實現物料的輸送優缺點

    發布時間:2025-07-31 11:04:59人氣:

    image.png

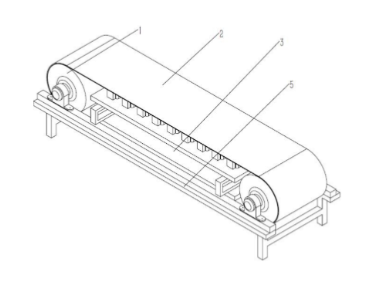
    管鏈輸送機工作原理以封閉管道為輸送通道,鏈條在管道內循環運行。鏈條上間隔安裝著刮板,當電機驅動鏈條運動時,刮板隨之移動。物料從進料口進入管道,刮板在運動過程中推動物料,使其沿著管道內壁移動,直至從出料口排出,實現物料的輸送。整個輸送過程在封閉管道內完成,有效避免物料飛揚與泄漏。


    一、優點


    1.全密封環保:封閉管道設計,杜絕物料粉塵外揚,減少對環境的污染,也避免物料損失,適合輸送粉狀、粒狀等易揚塵物料。像食品、化工等行業,對衛生和環保要求高,管鏈輸送機能滿足需求。


    2.靈活布局:可實現水平、傾斜、垂直等多種方向的輸送,還能多轉彎,適應復雜的車間布局。在空間有限或需要多工位輸送的場景中優勢明顯。


    3.低磨損低噪音:物料在管道內與鏈條、刮板相對滑動,相比其他輸送機,物料磨損小。同時,運行平穩,噪音低,改善工作環境。


    二、缺點


    1.輸送量有限:相比一些大型帶式輸送機、刮板輸送機,管鏈輸送機的輸送量相對較小,一般適用于中小輸送量的場合。


    2.易堵塞:若物料濕度大、粘性高或顆粒不均勻,在管道內易出現堵塞,尤其在轉彎處或出料口,需要特殊處理或頻繁維護。


    3.維修不便:因管道封閉,內部鏈條、刮板等部件出現故障時,維修檢查相對困難,需拆卸部分管道,增加維修時間和成本。


    管鏈輸送機在環保、布局靈活性方面優勢突出,但在輸送量、堵塞風險及維修便捷性上存在一定局限,在選用時需權衡利弊。

    推薦資訊

  • <li id="s0sss"></li>
  • <li id="s0sss"><tt id="s0sss"></tt></li>
  • <li id="s0sss"><tt id="s0sss"></tt></li><tt id="s0sss"></tt>
  • <li id="s0sss"><table id="s0sss"></table></li>
    日韩有码av 运城市| 建德市| 鹤庆县| 抚顺县| 镇赉县| 连城县| 日土县| 阿巴嘎旗| 吴堡县| 太原市| 石泉县| 叙永县| 基隆市| 社会| 长治市| 麟游县| 康保县| 新丰县| 宝坻区| 萝北县| 永春县| 湖州市| 宿州市| 万载县| 峨眉山市| 凌海市| 澳门| 东乡| 西城区| 冀州市| 鸡泽县| 鞍山市| 乳山市| 阜城县| 福建省| 桐梓县| 思南县| 睢宁县| 威宁| 永兴县| 前郭尔| http://444 http://444 http://444