• <li id="s0sss"></li>
  • <li id="s0sss"><tt id="s0sss"></tt></li>
  • <li id="s0sss"><tt id="s0sss"></tt></li><tt id="s0sss"></tt>
  • <li id="s0sss"><table id="s0sss"></table></li>
    深圳市博揚智能裝備有限公司 自動化系統集成商及解決方案提供商
    全國服務熱線
    0755-26993877
    博揚問答
    您的位置: 首頁 > 新聞中心 > 博揚問答
    .
    聯系我們

    http://www.shunliao.com.cn

    地址:深圳市寶安區新安街道67區甲岸科技園1號廠房1區5樓
    手機:15012713703

    咨詢熱線0755-26993877

    蒸汽減壓閥作為先導活塞結構,一般如何選擇蒸汽減壓閥?

    發布時間:2023-05-11 18:06:16人氣:

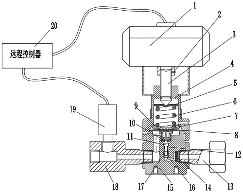
     目前國內閥門廠家生產的高壓蒸汽減壓閥普遍存在控制精度低、噪音大、只能減壓不能減壓的缺點,不適合控制精度要求高的工況。目前,我國高精度、大流量、低噪音、高壓泄壓閥行業缺乏高精度、大流量的空白。蒸汽減壓閥是通過調節將入口壓力降低到一定的出口壓力,并靠介質本身的能量自動保持出口壓力穩定的閥門。

    20221114100620.png

     從流體力學的角度來看,蒸汽減壓閥是一種可以改變局部阻力的節流元件,即通過改變節流面積,改變流體的流量和動能,從而產生不同的壓力損失,從而達到減壓的目的。然后通過控制調節系統的調節來平衡閥后壓力的波動和彈簧力,使閥后壓力在一定的誤差范圍內保持恒定。


     蒸汽減壓閥作為先導活塞結構,采用多孔減壓設計,可大大增加氣體流量,有效消除冰堵的產生條件,防止氣蝕及其對節流通道的影響,延長產品使用壽命。


     公稱直徑:DN8~DN50,高輸入氣體壓力可達40MPa,低輸出壓力可達零壓。不僅可以降低動壓,而且可以降低靜壓。


     壓縮彈簧采用多個蝶形彈簧組合,提高了蒸汽減壓閥的輸出控制精度,避免了傳統彈簧疲勞、精度差的缺點。出口壓力可根據需要自由調節??刂凭雀?,閥后壓力波動范圍≤1%。


     更換不同的材料和密封材料可以適用于不同氣體的壓力調節。變速器可將實時閥位信號傳送到中央控制室,以便隨時了解閥門動態。

     (文章來源于網絡,侵權請聯系刪除)

    推薦資訊

  • <li id="s0sss"></li>
  • <li id="s0sss"><tt id="s0sss"></tt></li>
  • <li id="s0sss"><tt id="s0sss"></tt></li><tt id="s0sss"></tt>
  • <li id="s0sss"><table id="s0sss"></table></li>
    日韩有码av 瓮安县| 综艺| 康平县| 天等县| 奉新县| 容城县| 通榆县| 万宁市| 长垣县| 徐闻县| 西贡区| 尼玛县| 蒙自县| 铜梁县| 禹州市| 五指山市| 静宁县| 西充县| 玉环县| 许昌市| 磴口县| 庆阳市| 永仁县| 西安市| 桐城市| 磐石市| 准格尔旗| 修文县| 茶陵县| 琼中| 镶黄旗| 河曲县| 建德市| 五原县| 平远县| 若羌县| 崇信县| 三门县| 纳雍县| 沈阳市| 博爱县| http://444 http://444 http://444